Back to Home Page of CD3WD Project or Back to list of CD3WD Publications

CLOSE THIS BOOKPlaning out - Course: Manual woodworking techniques. Trainees' handbook of lessons (Institut für Berufliche Entwicklung, 18 p.)
VIEW THE DOCUMENT(introduction...)
VIEW THE DOCUMENT1. Purpose and Application of Planing
VIEW THE DOCUMENT2. Construction and Mode of Action of the Planes, Types of Planes
VIEW THE DOCUMENT3. Preparations for Planing
VIEW THE DOCUMENT4. Planing of Wide Faces
VIEW THE DOCUMENT5. Planing of Narrow Faces
VIEW THE DOCUMENT6. Planing of End-grained Narrow Faces (Sectional Areas)
VIEW THE DOCUMENT7. Planing of Profiles

7. Planing of Profiles

Profiles on longitudinal narrow faces and board edges are mostly pre-worked by means of special planes. Profiles, which are pre-moulded by woodworking machines, must be refitted or smoothed by special planes.

Simple chamfers on workpieces are worked by means of the double plane and the adjustable iron fore plane.

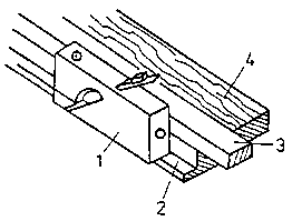
Tongues and rabbets are worked by means of the rabbet plane. If rabbets are worked manually, a straight, square strip (straightedge) must be mounted onto the workpiece as gauge for the accurate- to-size guidance of the rabbet plane.

If the workpieces are profiled across to the direction of the grains, the plane is moved in the same way as for planing of end-grained narrow faces.


Figure 31 Profiles at narrow faces and edges

1 chamfer, 2 tongue, 3 rabbet


Figure 32

1 rabbet plane, 2 rabbet, 3 guide strip (straightedge), 4 workpiece

TO PREVIOUS SECTION OF BOOK

CD3WD Project Donate