Back to Home Page of CD3WD Project or Back to list of CD3WD Publications

CLOSE THIS BOOKSetting and Operation of Shaping Machines - Course: Techniques for machining of material. Trainees' handbook of lessons (Institut für Berufliche Entwicklung, 26 p.)
VIEW THE DOCUMENT(introduction...)
VIEW THE DOCUMENT1. Purpose and importance of working with shaping machines
VIEW THE DOCUMENT2. Construction of shaping machines
VIEW THE DOCUMENT3. Tools for shaping
VIEW THE DOCUMENT4. Preparation for working with shaping machines
VIEW THE DOCUMENT5. Setting and operation of shaping machines
VIEW THE DOCUMENT6. Care and maintenance of shaping machines

4. Preparation for working with shaping machines

It is part of the preparation of the respective sequence of operations to lay out all necessary working means, objects of work and auxiliary equipment in a suitable manner and according to regulations so that they can immediately be used without losing any time.

Clamping the workpieces

The workpiece clamping devices have the task to bring the workpiece into a certain position and to hold it in this position during machining.

Each workpiece clamping must be

- firm, safe and definite in position:

- arranged in such a manner that the technically possible rated capacity of machines can best be utilized (short preparation and finishing times);

- done in such a way that no permanent deformations result on the workpiece.

Machine vices are mainly used for small workpieces with parallel outer surfaces. Before the workpiece is clamped the position of the machine vice must be checked.


Figure 13 - Workpiece clamping on machine vice

1 - machine vice
2 - workpiece with parallel outer surfaces
3 - clamping force in the plane of the cutting force
4 - tool

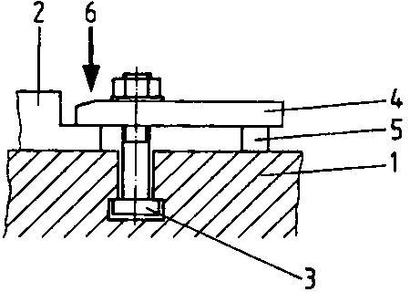
Larger workpieces which cannot be clamped in the machine vice are set up directly on the machine table. Fixing of the position is reached by tongues or stops.


Figure 14 - Workpiece clamping on machine table (tongues)

1 - machine table
2 - workpiece
3 - tongues (clamping bolt)
4 - clamp with bore hole
5 - base
6 - vertical clamping force


Figure 15 - Workpiece clamping on machine table (stop)

1 - stop
2 - workpiece
3 - clamping slope
4 - clamp with bore hole
5 - base

Magnetic chucks are mainly used for thin workpieces which would bend, if otherwise set up. This requires plane-parallel surfaces and relatively little chip removal due to the low clamping force. Workpieces which cannot be clamped in the machine vice or mounted directly on the machine table are set up in workpiece clamping means.

They are provided for such workpieces which due to their geometrical shape cannot or only with considerable effort be clamped with conventional clamping means. Fixtures are developed according to the conditions at the factory concerned.

When clamping workpieces on the machine table, in the machine vice and in the fixture take care to ensure that

- an accurate position of the workpieces, parallelism and angularity in relation to the main motion are reached,

- chips and dirt between the locating and supporting surfaces have been removed in order to prevent poor quality,

- clamps rest horizontally on the workpiece,

- clamping screws are as close to the workpiece as possible to transmit the highest possible clamping force,

- clamping forces act in the direction of the stops and supports,

- clamping elements are arranged in such a way that the cutting forces act against the fixed stops in the best possible way,

- supports for clamping workpieces are ground exactly parallel,

- points on workpieces which are sensitive to distortion are secured against distortion by means of supporting elements (e.g. bases, bolts, wedges),

- unused T-slots in big machine tables are provided with replaceable wooden strips to avoid that they get clogged with chips.

Clamping of tools

The slotting tools are held in the tool holder which is located on the tool slide or at the base of the ram (tool post).


Figure 16 - Tool mounting for shaping

1 - tool
2 - clamping bolt
3 - tool post
4 - clapper
5 - clapper holder
6 - bolt as axis of rotation

When clamping the tools, make sure that

- the tools are sufficiently stable in the shank section according to the cutting conditions (roughing or finishing);

- the holding surfaces are even and free from dirt;

- in the case of super high-speed steel tools pointlike clamping forces are distributed to a larger area by means of supports;

- the tools are clamped as short as possible and especially firmly so that lateral twisting of the tool due to too high lateral compressive forces is prevented and does not lead to a change of the cutting depth. Too long clamping can result in bending and chatter marks;


Figure 17 - Tool clamped too long

1 - bending of tool
2 - chatter marks on workpiece

- when tightening the clamping screws the hand clamping forces always act downwards so that the tool block cannot be lifted;

- with great clamping lengths appropriately large shank sections are used to prevent vibrations (chatter marks, risk of breakage).

What has to be considered when clamping workpieces?
________________________________________________________________________________________________________________________________________________________________________________________________________________________________________________________________________________________________________________________________

Why must a clamp always lie horizontally on the workpiece?
________________________________________________________________________________________________________________________________________________________________________________________________________________________________________________

Why must the holding surfaces be even and free from dirt and chips when clamping tools?
________________________________________________________________________________________________________________________________________________________________________________________________________________________________________________________________________________________________________________________________


Figure 18 - Mounting of tool for cutting

1 - ram head
2 - vertical slide
3 - clapper box
4 - ram clapper
5 - tool post
6 - clamping bolt
7 - bore hole for fixing the ram clapper
8 - keep the spacing as small as possible in order to avoid chatter marks on the workpiece surface

When the spacing is too large, the tool will bounce, dig into the material and produce chatter marks or will break in the worst case.

Determination of setting values

- The stroke length L is always greater than the length of the workpiece and is composed of workpiece length l, the approach la and the overrun lo

L = l + la + lo

- Approach and overrun are necessary, because the tool requires the approach la for starting the cut and the overrun lo for running out.

- Approach and overrun should not be too small in order to make it possible for the tool to properly start the cut and run out On the other hand they should not be too large, as this has an unfavourable effect on economy (time for the operation). Setting is made by radial adjustment of the sliding block. The greatest or smallest possible stroke is reached in the two extreme positions of the crank pin and sliding block respectively (see Fig. 3).

- For determining la and lo the following rule applies:

la + lo amount to at least 20 mm and should not exceed 40 mm. The average value is 30 mm.

la and lo should be of approximately the same size, i.e. la and lo respectively, amount to at least 10 mm and should not exceed 20 mm.

In case of machines having fixed stroke lengths the stroke length which comes closest to the required stroke length L shall be set. The minimum amount for approach and overrun, however, must be ensured.

Example for calculating the stroke length:

Given:

workpiece length l = 180 mm


approach and overrun la + lo = 30 mm

Wanted:

stroke length l (mm)

Solution:

L = l + la + lo


L = 180 mm + 15 mm + 15 mm


L = 210 mm

With given stroke lengths of 100, 200, 300, 400, 500 mm the stroke length of 200 mm shall be set, as approach and overrun of at least 20 mm are still ensured.

- Due to the different shapes of the workpieces it follows that the spots to be machined on the workpiece in the clamped state are fixed at the most different points on the machine table.

In order to avoid constant correction of the clamping tools (loss of time during work), the position of the ram stroke shall quickly and safely be adjusted on the machine.

- By adjusting the position of the ram stroke it is also very quickly possible to uniformly adjust the approach and overrun, with the stroke length being set. It shall be taken from the operating instructions for the machine at which point the position of the ram stroke is to be set.

Cutting speed (number of double strokes)

- The possible cutting speed is influenced by the driving force of the machine and the wear resistance of the tool.

- The cutting speed is changed not only by various speeds which can be set on the toothed gearing. The length of stroke has considerable influence on the cutting speed as well. Large stroke - long path of the crank pin during the working stroke and in relation to this, considerably shorter path during the return stroke. Small stroke - no essentially longer path of the crank pin during the working stroke in comparison with the return stroke.

- Each stroke requires an acceleration of the ram from zero to a maximum and after that again a deceleration to zero. In both extreme positions in which the cutting speed is zero, the direction is changed. For this reason recommended values specified are the mean cutting speed V.

- The return speed is limited by the accelerating and braking forces necessary for each stroke.

- The choice of the proper number of strokes (double strokes) is very important for reaching a good surface quality, a long service life of the tool and an economic working when shaping. The number of double strokes is derived directly from the cutting speed in connection with the stroke length.

Example of calculation:

A workpiece made of steel St 42 having a length of 150 mm shall be machined on the shaping machine by roughing. The tip of the tool is made of high-speed steel.

Given:

workplace length l = 150 mm


mean cutting speed for St 42


according to table: Vm = 12... 16 m/min.

Wanted:

stroke length L (mm)


number of double strokes: n (per min.)

Calculation:

L = l + la + lo

= 150 mm + 15 mm + 15 mm



= 180 mm

The number of double strokes "n" reached is 44 min.-1.

The following rule applies:

With machines having fixed numbers of strokes that number of strokes shall be set which comes closest to the calculated number of strokes per minute. However, the calculated number of strokes per minute should not be exceeded as according to the table the calculation was made with the highest mean cutting speed given.

From feed and cutting depth the chip cross-section is determined according to A = a · s. For an economic shaping it is therefore necessary to maintain a certain metal-removal rate a: s. If for a certain shaping work the material and the tool-tip material are given, there are guidelines as recommendation. From these guidelines the economic metal-removal ratio and, thus, the most economic feed in accordance with the surface finish can be taken.

What tasks have to be fulfilled in preparing the production?
________________________________________________________________________________________________________________________________________________________________________________________________________________________________________________________________________________________________________________________________

What purpose does clamping in the machine vice fulfil?
________________________________________________________________________________________________________________________________________________________________________________________________________________________________________________________________________________________________________________________________

Why becomes a stroke adjustment necessary?
________________________________________________________________________________________________________________________________________________________________________________________________________________________________________________________________________________________________________________________________

What are the criteria for choosing the stroke length?
________________________________________________________________________________________________________________________________________________________________________________________________________________________________________________________________________________________________________________________________

What has to be considered when clamping is made on the machine table?
________________________________________________________________________________________________________________________________________________________________________________________________________________________________________________________________________________________________________________________________________________________________________________________________________________________________________________________________________________________________________________________________________________________________________________________________________________________________________________________________

What has to be considered when clamping the tool?
________________________________________________________________________________________________________________________________________________________________________________________________________________________________________________________________________________________________________________________________________________________________________________________________________________

What measure has to be taken, if during infeeding in relation to the final size the tool has by mistake been fed too much into the work?
________________________________________________________________________________________________________________________________________________________________________________________________________________________________________________________________________________________________________________________________

What criteria does the choice of the feed depend on?
________________________________________________________________________________________________________________________________________________________________________________________________________________________________________________________________________________________________________________________________

TO PREVIOUS SECTION OF BOOK TO NEXT SECTION OF BOOK

CD3WD Project Donate