Back to Home Page of CD3WD Project or Back to list of CD3WD Publications

CLOSE THIS BOOKManual Thread Cutting - Course: Technique for manual working of materials. Trainees' handbook of lessons (Institut für Berufliche Entwicklung, 22 p.)
VIEW THE DOCUMENT(introduction...)
VIEW THE DOCUMENT1. Purpose of thread cutting
VIEW THE DOCUMENT2. Kinds of threads
VIEW THE DOCUMENT3. Tools for internal threading (tapping)
VIEW THE DOCUMENT4. Tools for external threading
VIEW THE DOCUMENT5. Operation of thread cutting
VIEW THE DOCUMENT6. Special hints on the designation of threads by the example of the metric threads
VIEW THE DOCUMENT7. Technological process of cutting internal threads (tapping)
VIEW THE DOCUMENT8. Technological process of cutting external threads

8. Technological process of cutting external threads

On principle, the following operations are necessary for the manual cutting of external threads:

8.1. Clamping

The bolt (round stock) is vertically clamped into the vice between - jaws, attachments or clamping jaws for round stock; with this, only the part of the material which is to be worked shall project over the clamping device in order to reduce the springing of the bolt.

8.2. Chamfering

In order to be able to put the tool in an angular position on the bolt, a chamfer must be made at the head of the bolt. This can be done with the help of a file or by a grinding machine.

The chamfer shall have an inclination of approximately 45° and a width of at least 0.5 mm.


Figure 14 - Chamfering of the bolt

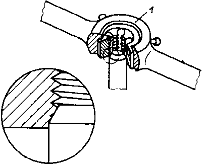
8.3. Thread cutting

According to the nominal diameter of the thread, a threading die or die-stock is used.


Figure 15 - Application of the threading die

1 - Top surface of the die holder

Note:

- The threading die is applied that way that the top of the die holder points upwards.

(If worn out, the threading die can be turned in the die holder).

- By the die-stock, the external thread (bolt thread) is cut from bottom to top, otherwise an accurate bevel cannot be achieved.

Lubricating and cooling agents are chosen according to the kind of material.

8.4. Cleaning

After thread cutting, the chips and rests of oil are removed from the thread flanks by compressed air or brush.

8.5. Checking

The length of the thread is checked by vernier caliper, the accuracy of fit of the thread by the thread ring gauge according to the nominal diameter. The surface of the thread flanks can be assessed by the eye.


Figure 16 - Checking of the thread

How must bolts be clamped in the vice?
________________________________________________________________________________________________________________________________________________________________

Why must the bolt be provided with a chamfer?
________________________________________________________________________________________________________________________________________________________________

Faults

Irrespective of nonobservation of the sequence of operations, faults in the cutting process may occur which are visible with the naked eye:

Fault

Reason

Thread is not straight

- Tool was not put on vertically
- Tool was turned unevenly (jerkily)
- With external thread - cut without starting bevel

Thread turns are rough and partially torn

- Tool was turned unevenly and too quickly
- No lubricating and cooling agent was used
- Minor diameter and/or diameter of the bolt were not calculated accurately

TO PREVIOUS SECTION OF BOOK

CD3WD Project Donate