Back to Home Page of CD3WD Project or Back to list of CD3WD Publications

CLOSE THIS BOOKFundamentals of Fitting - Course: Techniques of fitting and assembling component parts to produce simple units. Trainees' handbook of lessons (Institut für Berufliche Entwicklung, 22 p.)
VIEW THE DOCUMENT(introduction...)
VIEW THE DOCUMENT1. Purpose, Kinds, and Methods of Manual Fitting Operations
VIEW THE DOCUMENT2. Tools, Testing Means and Auxiliary Accessories
VIEW THE DOCUMENT3. Selected Basic Terms of the ISA System of Fits
VIEW THE DOCUMENT4. Fitting Works on Plane and Curved Surfaces

4. Fitting Works on Plane and Curved Surfaces

There are following possibilities for the sequence of fitting operations on component parts and sub-assemblies:

- The order of the fitting operations can be taken from the engineering drawing. The engineering drawing of the mating part contains respective hints.

- The sequence of the fitting operations works is derived from the construction and mechanism of the machine into which the mating parts have to be inserted.

- At first the mating part is produced the working of which better guarantees the required geometrical accuracy and dimensional accuracy.

4.1. Fitting Works on Plane Surfaces

As internal and external surfaces plane surfaces can be angular, parallel and staggered to each other.

They serve as bearing faces, working faces or measuring faces.

Plane surfaces are manufactured mechanically by planing, slotting, milling, grinding and broaching. To achieve very high surface qualities these works are followed by honing and lapping. Plane surfaces are manufactured manually by filing and scraping, and to achieve high surface qualities these works can be followed by polishing.

For all fitting works prefabricated workpieces are being reworked. The surface quality to be obtained and accuracy of fit determine the technique to be applied!

Fitting Works on Narrow Surfaces

Narrow surfaces as those of sheet metal are being filed and tested with the help of gauges by light gap test method.

Task:

A mitre angle gauge of 135º is to be made of 2-mm-thick sheet metal.

Sequence of operations:

1. The sheet metal has been prepared by sawing and filing to size, an instrument for angular measurement or an available gauge were used as testing means.


Figure 22 Mitre angle gauge

2. The first fit test is performed with the light gap test method, points of contact are marked with pencil or chalk and are afterwards filed off slightly.


Figure 23 First fit test - highly enlarged representation

1 workpiece, 2 points of contact marked with pencil, 3 hollow spots, 4 gauge

3. During the second fit test the broader points of contact are marked with arcs and worked further.


Figure 24 Second fit test

4. When the light gap becomes evenly visible, the fitting work can be finished.


Figure 25 Fitting work finished - uniform light gap

Hints:

If more than two narrow surfaces (edges) are to be mated, those surfaces are worked first which lie in one plane and of which there is a greater amount!


Figure 26 Fitting work on several surfaces

1 surfaces to be mated first, 2 surface to be mated subsequently

If a surface is parallel to an already finished surface and two other surfaces are not parallel to another, the first mentioned surface is to be mated first; then the other two surfaces are mated. If all surfaces are parallel or not parallel to each other, they have to be mated simultaneously.

Fitting Works on Broad Surfaces

The degree of difficulty of these fitting works is higher since in most cases several surfaces have to be mated which are often arranged symmetrically and require a “shift-fitting”, i.e. the fit has to be guaranteed also in case of rotation by 90° or 180°.


Figure 27 Shift-fitting - the square has to fit in the recess also when it is being rotated

Moreover, the requirements of the fit quality with regard to the type of fit have to be considered, too.

The light gap test method is no longer sufficient as testing procedure.

The drag mark method is used, i.e. the workpieces are rubbed against each other and the points of contact can be recognized as bright spots.

Condition:

1. Mating surfaces are very broad.
2. Contact of the mating surfaces is only possible by pushing in or through.


Figure 28 Drag mark method

The touching-up is an extension of the drag mark method.

The surfaces are thinly coated with a colouring agent, then the surfaces are being rubbed against each other or rubbed with marking devices.

Different elevations and cavities appear with different intensities of colour on the surfaces.

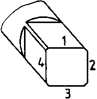
Task:

A square socket wrench for a three-jaw chuck is to be manufactured with a clearance of 0.1 mm, a gauge is used for testing.

Sequence of operations:

1. The square has been prepared by sawing and filing with an allowance of 0.4 mm.


Figure 29 Pre-fabricated square - surfaces 1 to 4 are filed

2. Take surface 1 as reference surface and file surface 2 planely and angularly.


Figure 30 Testing of the angularity

3. File surface 4 planely and angularly with regard to surface 1, allowance is to amount to 0.2 mm.

4. File surface 3 planely and angularly with regard to surfaces 2 and 4, allowance is to amount to 0.2 mm.

5. Working of all surfaces to fit size; square shall touch the gauge so that drag marks become visible.


Figure 31 Testing of the working fit

6. File off the drag marks, square is inserted in the gauge again to determine the drag marks.

7. Repeat operation until the square can be inserted in the gauge in any position and even drag marks are visible as surfaces.

8. Final operation - the clearance of 0.1 mm is to be tested with a feeler gauge.


Figure 32 Testing of the clearance

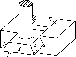
Task:

A pre-fabricated lock screw is to be fitted in a dovetail guide with its head. The clearance shall amount to 0.1 mm. The head has an allowance of 0.4 mm.

Sequence of operations:

1. File base surface (1) of the screw head planely.
2. Chamfer the inclined side faces (2 and 4).


Figure 33 Preparation of the base surface as reference surface

1 base surface, 2 side faces, 3 front surface, 4 side face, 5 guide

3. File side face (2) planely and at an angle of 60° to the base surface (1).

4. File front surface (3) planely and at an angle of 90º to the base surface (1).

5. Find out how much material has to be removed from side face before fitting the head.

6. File side face (4) planely and at an angle of 90º to front surface (3) and at an angle of 60° to base surface (1).

7. Determine the drag marks by inserting the head in the guide.


Figure 34 Determination of the drag marks

8. File off the drag marks, repeat the operation until the head can easily be moved through the guide.

9. Ensure a clearance of 0.1 mm by uniformly filing or scraping the surfaces (2 and 4).

4.2. Fitting Works on Curved Surfaces

Curved surfaces may look curved or rotationally symmetrical (turned parts), they appear as internal and external surfaces.

Contrary to curved surfaces used for machines with control tasks, shafts, bushes, bearings and guides have rotationally symmetrical internal and external surfaces. The fit of the surfaces is performed according to their function. There are stationary (non-moving) working surfaces, for example in slide bearings and cylindrical guides. Such surfaces are being mechanically produced mostly by turning, boring, grinding, Honing and lapping.

They are produced or reworked manually by filing, scraping and reaming.

Narrow curved surfaces are being worked in the same way as narrow plane surfaces. Broad curved surfaces are to be worked in different ways.

Task:

A slide bearing is to be adjusted to a shaft.

Sequence of operations:

1. The shaft is thinly and uniformly coated with colour.

2. The bearing shells are being attached, and thin sheets of metal are being moved as insets between the lower and the upper bearing shell. The bearing shells are joined by screws. When the bearing bore is worn out, the insets are replaced by thinner ones or completely removed.


Figure 35 Assembling of the bearing shells

1 upper bearing shell, 2 screw, 3 inset of sheet metal, 4 lower bearing shell

3. The touching-up is performed by several rotations of the shaft in the bearing shells, afterwards the bearing shells are again disassembled.

4. The points of contact (bearing spots) are shaved off by pushing rotary motion with a triangular or spoon scraper.

5. The touching-up and scraping is continued until a uniform bearing contact pattern is visible. It is favourable that the bearing marks lie denser on the side faces of the bearing than at the top and at the bottom.


Figure 36 Bearing contact pattern in the bearing shell

6. With the triangular scraper, oil grooves are uniformly scraped, but they must not flow out on the front surfaces.


Figure 37 Scraped oil grooves

7. After completion the bearing shells have to rest firmly on the shaft, the shaft must not jam, but also not have an excessive clearance.

Task:

A precision bore in a toothed gear is to be reworked for the reception of a completed shaft.

Sequence of operations:

1. Testing of the dimensional tolerance of the shaft with the help of limit gap gauges.
2. Selection of the fit size for the gear bore according to the type of fit.
3. Deburring of the bore with the triangular scraper or countersinking with the countersink.
4. Reaming of the bore with a reamer according to the fit size.
5. Testing of the bore with the plug limit gauge according to the fit size.
6. Assembling and testing the functioning of the fit.

What does “shift-fitting” mean?
___________________________________________________________________________
___________________________________________________________________________

TO PREVIOUS SECTION OF BOOK

CD3WD Project Donate