Back to Home Page of CD3WD Project or Back to list of CD3WD Publications

CLOSE THIS BOOKCutting by Milling - Course: Techniques for machining of material. Trainees' handbook of lessons (Institut für Berufliche Entwicklung, 17 p.)
VIEW THE DOCUMENT(introduction...)
VIEW THE DOCUMENT1. Purpose and importance of cutting by milling
VIEW THE DOCUMENT2. Types of milling tools to be applied
VIEW THE DOCUMENT3. Preparation for cutting by milling
VIEW THE DOCUMENT4. Cutting by milling

1. Purpose and importance of cutting by milling

By cutting by milling we understand the cutting of workpiece of different geometrical forms (prismatic, rotationally symmetrical) with a metal slitting saw blade as the milling tool.


Figure 1 - Metal slitting saw blade

1 - backing material
2 - socket
3 - cutting teeth

Moreover, we can cut workpieces being processed before in a strip shape or bar shape. For example, collar-shaped rotationally symmetrical workpieces can be cut into segments by cutting by milling. Sleeve-shaped workpieces can be applied by cutting by milling (semi-sided) as fixing bushes.


Figure 2 - Sleeve - clamp groove

1 - sleeve
2 - clamp groove

The processing and manufacturing of workpieces by cutting by milling is carried out for the purpose:

- to cut strips, bars, collars and sheaves of different geometrical forms and different raw material.
- to cut bushes (semi-sided) in order to reach the clamping of the male part in the bush.


Figure 3 - Examples for cutting by milling

(1) bar section
(2) collar - segments,
(3) sleeve - clamp groove

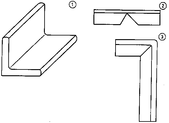
- to cut (to notch or to cut out) certain parts for workpieces, such as angle strips where blacks should be bent off.


Figure 4 - Angle iron - bent

(1) angle iron
(2) separation notch
(3) angle iron - bent

The processing and manufacturing of workpieces by cutting by milling is mainly carried out on horizontal milling machines. In special cases cutting by milling is carried out on a vertical milling machine.

That machine is applied especially if the geometrical form of the workpiece or the part to be processed needs a vertical milling machine to be applied.

What do we understand by cutting by milling?
________________________________________________________________________________________________________________________________________________________________________________________________________________________________________________________________________________________________________________________________

On what type of milling machines is cutting by milling mainly carried out?
________________________________________________________________________________________________________________________________________________________________

TO PREVIOUS SECTION OF BOOK TO NEXT SECTION OF BOOK

CD3WD Project Donate