Back to Home Page of CD3WD Project or Back to list of CD3WD Publications

CLOSE THIS BOOKMilling of Offset Faces - Course: Techniques for machining of material. Trainees' handbook of lessons (Institut für Berufliche Entwicklung, 14 p.)
VIEW THE DOCUMENT(introduction...)
VIEW THE DOCUMENT1. Purpose and importance of milling offset faces
VIEW THE DOCUMENT2. Types of milling tools used
VIEW THE DOCUMENT3. Preparation for milling offset faces
VIEW THE DOCUMENT4. Milling offset faces

3. Preparation for milling offset faces

The following sequence of operations is necessary in order to prepare the milling of offset faces:

- conceptual planning of the sequence of operations for milling offset faces

- selecting the milling machine to be used

- choosing the milling and clamping tools, equally the measuring and testing means

- making available the necessary tools and auxiliaries heeding the essential aspects of orderly arrangement

- providing the necessary means for adhering to labour safety requirements (gloves, protective goggles, chip catch, hand brush and rags)

- determine or calculate the cutting values (rotational speed of the milling spindle, rate of feed, number of runs for each workpiece, rough and final milling)

- ensure proper functionality and operating safety of the milling machine, tools and auxiliaries to be used prior to commencing work. Worn tools should be discarded and replaced. Oil level control and milling machine lubrication should be undertaken in accordance with the applicable lubrication instructions.

Clamping workpieces for milling offset faces

Various clamping possibilities exist for milling offset faces of workpieces. The selection of the appropriate clamping means depends on:

- the geometrical shape and size (length, width and height) of the workpiece

- the position of the workpiece offset faces to be turned out

- the accuracy requirements in respect of the offset faces (dimensions, shape and positional deviations)

- the number of workpieces to be processed (single units: small, medium or large batch series)

- the type of milling machines available (horizontal or vertical milling machine, portal or two spindle milling machine)

- the available workpiece clamping means and auxiliaries (vice, clamping square, knee, clamping elements)

The most frequently employed workpiece clamping means for milling offset faces are:

- clamping in a vice
- clamping directly to the machine table and
- clamping in devices

Workpieces are generally clamped as single items. The adoption of multi-piece chucking depends on:

- the geometrical shape and size of the workpieces to be clamped
- the accuracy requirements in respect of the offset faces
- the number of workpieces to be processed and
- the existing clamping possibilities.

When clamping workpieces, ensure that beforehand the burr is removed and the clamping faces (bearing and supporting surfaces) are cleaned. The clamping tool must be in proper functional order. Metal chips on the workpiece faces or burrs on the already processed faces lead to

- top surface impairment (dents or imprints) and
- workpiece measurement and positional deviations. There is also the danger of injury!

In order to attain the accuracy parameters as set out in the work assignment one must pay considerable attention to positional determination and stability (workpiece supporting and bearing surfaces and clamping force). In the case of accuracy requirements (angularity and parallelism) less than 0.05 mm for the offset faces the clamping means for the workpiece should be aligned using a dial gauge.

Always wear protective gloves when handling sharp-edged workpieces in order to avoid hand injuries through cuts. Workpiece deburring should only be undertaken with sound files (snugly fitting file handles).

- When clamping workplaces in a machine vice ensure that the height of the workpiece base (parallel pieces) is so selected that the vice jaws are not deformed once the offset faces have attained the required "depth".


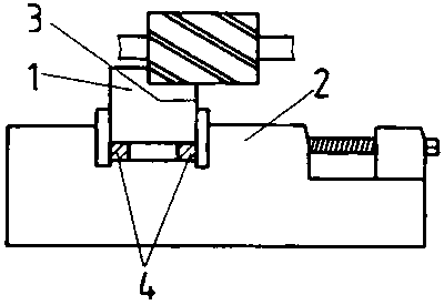
Figure 3 - Workpiece in the machine vice

1 - workpiece,
2 - machine vice,
3 - distance between the vice jaws and the milling tool, parallel pieces

As the vice jaws are generally tempered (hardened), any contact (initial milling) with milling tools would immediately make them useless.

Furthermore, the following factors must be heeded for ensuring adherence to the accuracy requirements when clamping the work-pieces:

- the angularity and parallelism of the offset faces depends on a clean workpiece bearing and support.

- the angularity and parallelism of the offset faces depends on the precise positional determination of the workpiece clamping means and the workpiece.

- the quality (surface finish) of the offset faces depends on the condition of the milling tools (sharp or worn), the selection of cutting values (rotational speed, rate of feed, milling depth) and on the soundness of the used milling machine (bearing distance of the milling spindle and the slideways in X-Y-Z direction).

When clamping workpiece directly to the machine table the following preconditions must be met:

- clean workpiece bearing and support surfaces

- positional determination of the workpiece in accordance with accuracy requirements (workpiece to be aligned directly to the stop strip or tongues)

- ensure that the workpiece is so positioned that undesired positional deviations are not possible (use of a commensurate number of workpiece clamping elements, a longitudinal stop and suitable pressure pieces, equally the necessary clamping force).


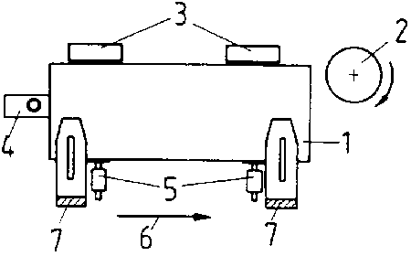
Figure 4 - Workpiece clamped on the milling table

1 - workpiece (front view)
2 - milling tool
3 - tongues
4 - stop piece
5 - pressure blocks
6 - feed direction
7 - clamp

Heed the following when clamping workpieces in a clamping device:

- clean device supporting surface on the machine table
- clean workpiece supporting and bearing surfaces (positional determination on the device)
- utilising all provided clamping elements with the commensurate clamping force
- determine the milling direction according to the longitudinal stop of the device
- only use properly functioning and tested devices.

When clamping the workpieces for simultaneous milling of offset faces on a portal milling machine, a two-spindle milling machine or when using gang cutters on a horizontal milling machine ensure the following:

- cleanliness when clamping the workpieces
- positional determination according to required accuracy parameters
- positional stability irrespective of the type of workpiece clamping means
- selection of cutting values according to type of material and the nature of the milling tool.

The requirements in respect of labour safety must always be heeded irrespective of the type of clamping means used when milling offset faces or the manner in which offset faces are turned out.

In order to avoid eye injuries ensure that the milling protective devices or chip catch are purposefully employed. Workpieces with burr or sharp-edged faces should only be moved wearing protective gloves or using rags in order to avoid hand injuries.

How can workpiece and workpiece clamping means with greater accuracy requirements be aligned?
________________________________________________________________________________________________________________________________________________________________

What must always be heeded when clamping workpieces in order to avoid quality impairment?
________________________________________________________________________________________________________________________________________________________________________________________________________________________________________________

Clamping tools for milling offset faces

The clamping tools must be clamped safety and soundly (vibration-free). When clamping milling tools it is essential to heed all cleanliness requirements. Soiling of the bearing surfaces or in between the milling machine arbor collars adversely affect tensioning through deviations in true and scheduled running. Only long milling arbors should be used on the horizontal milling machine. When milling on the vertical milling machine, only use short milling arbors if possible. In this case the mill can be clamped directly to the milling spindle.

Selection and use of measuring and testing means

The following measuring and testing means are required for controlling adherence to accuracy requirements, namely:

- vernier caliper/external micrometer
- depth vernier caliper/depth micrometer
- bevelled edge square or try square
- extended limit gauge

The above items should be checked for sound working order and positioned in readiness.

The service life of measuring and testing means depends to a considerable extent on their proper usage. This denotes an extension of the time period during which the measuring result is not adversely affected by prematurely worn measuring and testing means.

Only thoroughly deburred and clean workpieces should be checked.

TO PREVIOUS SECTION OF BOOK TO NEXT SECTION OF BOOK

CD3WD Project Donate