Back to Home Page of CD3WD Project or Back to list of CD3WD Publications

CLOSE THIS BOOKShearing - Course: Technique of working sheet metals, pipes and sections. Trainees' handbook of lessons (Institut für Berufliche Entwicklung, 17 p.)
VIEW THE DOCUMENT(introduction...)
VIEW THE DOCUMENTPreliminary Remarks
VIEW THE DOCUMENTHints on Labour Safety
VIEW THE DOCUMENT1. Purpose of Shearing
VIEW THE DOCUMENT2. Tools and Machines
VIEW THE DOCUMENT3. General Construction of Shears
VIEW THE DOCUMENT4. Mode of Operation of the Shearing Process
VIEW THE DOCUMENT5. Shearing Techniques
6. Sequence of Selected Shearing Operations

2. Tools and Machines

There are shears of different design for manual or machine operation. Shear selection is mainly determined by sheet thickness and form of cut.

Tinners’ snip

It is used for short straight-lined or short curve-shaped cuts on thin sheet metals.

Maximum sheet thickness:

Steel

- 0.7 mm

Brass

- 0.8 mm

Copper

- 1.0 mm

Aluminium

- 1.0 to 2.5 mm


Figure 2. Tinners’ snip

Tinners’ through snip

It is employed for longer straight-lined cuts on thin sheets. Since the sheet passes through under one’s hand, there is no danger of getting one’s hand injured.


Figure 3. Tinners’ through snip

Hole cutting shear

It is used to cut curve-shaped thin sheet metal parts. The shear blades curved on one side are not suitable for straight-lined cuts.


Figure 4. Hole cutting shear

Curve shear

It is suited for circular and curve-shaped cuts on thin and medium-thick sheets of up to 4 mm. The sheet may be turned in any direction during the cutting operation.


Figure 5. Curve shear

Guillotine machine

It is employed to cut off thin sheets (about 3 mm) in oversized lengths.

The upper shear blade is stroken against the lower one during the cutting procedure.

There are various designs of guillotine machines being operated either manually or by machine force.


Figure 6. Guillotine machine

1 telescopic hand lever, 2 upper shear blade, 3 lower shear blade, 4 counterweight

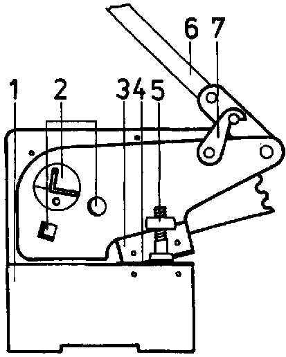
Lever shear

It is used for short straight-lined and curve-shaped cuts of medium-thick sheet metals or to cut off sections. The upper shear blade is pivoted and moves down against the lower shear blade via a lever transmission. The hand-lever can be locked to avoid injuries by its falling down. To cut off sections, profiled elements with additional shear blades are arranged over the upper shear blade.


Figure 7. Lever shear

1 frame, 2 section knife holders, 3 upper shear blade, 4 lower shear blade, 5 adjustable hold-down bar, 6 hand lever, 7 hand-lever locking device

Circular shear

It is used for curve-shaped, long cuts on thin and thicker sheet metals.

The roller shear has wheel-shaped shear blades moving to each other in opposite rotating direction. The upper shear blade can be moved up and down to get adjusted to the sheet thickness. As for thicker sheets, several passes are, however, required to completely cut the sheet to pieces.

Roller shears may be operated by hand or by machine force.


Figure 8. Circular shear

Electric tinners’ snip

It is employed to cut thin sheets when curve-shaped cuts are to be made. A small upper shear blade is quickly moved up and down by motor force so that the shear cuts through the sheet by means of continuous feed movement performed by hand.


Figure 9. Electric tinners’ snip

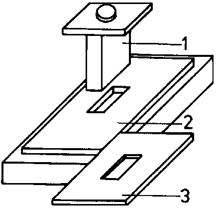
Cutting tools

They are used in various forms for mass production of sheet-metal parts when simple or complicated forms of the same kind are needed. Cutting tools consist at least of one punch and a cutting plate having an accurate-to-size opening. The punch has exactly to fit through the opening, with a cutting clearance of 0.05 to 0.1 mm of sheet thickness between the two tools. The punch is pushed through the sheet in the cutting plate by pressure force. The sheet part falls down under the cutting plate.


Figure 10. Cutting tool

1 punch, 2 cutting plate with opening, 3 punched workpiece

Power-driven shear machine

It is applied to cut very long sheet metals of over 10 mm in thickness as well as stronger sections. This shear machine has a strong, adjustable drive, hydraulically operated hold-down bar and a mechanically operated cutting gap adjusting device. The cutting line can be observed on an indicating appliance.


Figure 11. Power-driven shear machine

1 drive, 2 finger guard, 3 hold-down bar, 4 supporting table

What is the purpose of shearing?
_____________________________
_____________________________
_____________________________

Which are the advantages of shearing compared to sawing?
_____________________________
_____________________________
_____________________________

Which different shearing techniques are there?
_____________________________
_____________________________
_____________________________

Which cuts can be made on the tinners’ snip?
_____________________________
_____________________________
_____________________________

For which cuts is the guillotine machine used?
_____________________________
_____________________________
_____________________________

For which cuts is the lever shear employed?
_____________________________
_____________________________
_____________________________

TO PREVIOUS SECTION OF BOOK TO NEXT SECTION OF BOOK

CD3WD Project Donate