Back to Home Page of CD3WD Project or Back to list of CD3WD Publications

CLOSE THIS BOOKWorking on Long-hole Cutting Machines - Course: Mechanical woodworking techniques. Trainees' handbook of lessons (Institut für Berufliche Entwicklung, 12 p.)
5. Technological Processes of Drilling and Cutting
VIEW THE DOCUMENT5.1. The Manufacturing of Round Bores
VIEW THE DOCUMENT5.2. The Manufacturing of Long-holes

Working on Long-hole Cutting Machines - Course: Mechanical woodworking techniques. Trainees' handbook of lessons (Institut für Berufliche Entwicklung, 12 p.)

5. Technological Processes of Drilling and Cutting

5.1. The Manufacturing of Round Bores

Marking the piece of work

According to the measures taken from the technical drawing the bore centres are marked and punched with the awl so that the bore point can be placed precisely when drilling.

Be careful when handling the awl!

Risk of accident!


Figure 7 - Marking and punching of the bore centres

Clamping the drill

After the selection of the necessary twist drill the latter is clamped in the bore chuck where the shank is placed in the bore chuck to the stop and clamped.

Pay attention to a secure clamping and to true running!

Only tools with an undamaged shank should be applied!

Adjusting the bore depth

The necessary bore depth is adjusted on the stop.

Clamping the piece of work

The piece of work is placed on the stop edge of the working table and clamped with the fixture.

Check for secure clamping!

Adjusting the table height

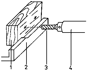
The working table is adjusted with the hand wheel till the pre-punched bore centre of the piece of work corresponds with the height of the bore point.


Figure 8 - Adjusting the table height

1 wooden board with marked and pre-punched bore centres, 2 stop edge, 3 drill, 4 bore chuck

Drilling

The machine is switched on, now the drilling tool is pressed against the piece of work with the lever until stop the stops the axial movement. Now the required bore depth is reached.

When drilling the axial feed is carried out with the right hand while the left hand has to ensure the adjustment of the piece of work on the bore hole centre with the cross feed.

Please do wear a head cover and tight-fitting clothes!

Do not grip with your hand over the bore chuck - risk of injuries!

Switching off and checking

After having resed the drill the machine is switched off. After removing the shavings the quality of the bore is checked with suitable measuring means.

Why must the bore centres be pre-punched after marking?
______________________________________________
______________________________________________
______________________________________________

What should be payed attention to when clamping the drill?
______________________________________________
______________________________________________
______________________________________________

What is the necessary bore depth fixed with?
______________________________________________
______________________________________________
______________________________________________

How can you find out if the right table height is adjusted?
______________________________________________
______________________________________________
______________________________________________

How is the drilling operation carried out?
______________________________________________
______________________________________________
______________________________________________

5.2. The Manufacturing of Long-holes

Marking the piece of work

With single manufactured pieces of work the form of the long hole is marked in width and length. Now single bores lined up side by side filling out the long hole are pre-punched according to the bore diameter.


Figure 9 - Marking the long hole and punching the bores

Clamping the long-hole cutting tool

The long-hole cutter is clamped in the bore chuck securely.

Check for secure clamping!

Adjusting the long hole's depth

The necessary depth of the long hole is adjusted on the stop - with the first cutting of deep long holes the total depth is not fixed yet.

Clamping the piece of work

The piece of work is placed on the slop edge of the working table and clamped securely with the fixture.

Check for secure clamping!

Adjusting the table height

The working table is adjusted with the hand wheel so that the bore centres correspond with the centre of the long-hole cutter. The table alignment should correspond with the alignment of the long hole.

Adjusting the length of the long hole

This length is adjusted by two stops. When manufacturing several pieces of work of the same type an extra stop chunk is fixed on the working table, so the marking of the long hole can be dropped and the dimensional accuracy is ensured. The stops are adjusted once for the first piece of work after which many pieces of work of the same type can be manufactured without time wasting marking and adjusting jobs being necessary.


Figure 10 - Fastening the wooden board with the help of a stop chunk

1 wooden board, 2 stop chunk

Drilling and cutting

The machine is switched on and now the single bores lined up side by side are drilled out step by step. With the last bore operation the stop should be adjusted for the final depth of the long hole.


Figure 11 - Single bores to fill the long hole

Finally the remaining wooden stays are cut off with the cross feed of the working table. With deep long holes the cutting should also be carried out in several steps in order not to overstress the cutting tool.


Figure 12 - Finish-cut long hole

Switching off and checking

After having reset the long-hole cutter the machine is switched off. After removing the shavings the quality of the long hole is checked.


Figure 13 - Checking the long hole

How do you mark single manufactured pieces of work for long-hole cutting?
______________________________________________
______________________________________________
______________________________________________

How do you adjust the length of the long hole if several pieces of work of the same type are to be manufactured?
______________________________________________
______________________________________________
______________________________________________

Why must drilling and cutting of deep long holes be carried out in steps?
______________________________________________
______________________________________________
______________________________________________

TO PREVIOUS SECTION OF BOOK

CD3WD Project Donate