Back to Home Page of CD3WD Project or Back to list of CD3WD Publications

CLOSE THIS BOOKRadio and Electronics (DED Philippinen, 66 p.)
5. MODULATION OF RADIOWAVES
VIEW THE DOCUMENT(introduction...)
VIEW THE DOCUMENT5.1. THE AMPLITUDE MODULATION (AM)
VIEW THE DOCUMENT5.2. FREQUENCY MODULATION (FM)
VIEW THE DOCUMENT5.3. SIDEBANDS
VIEW THE DOCUMENT5.4. TRANSMISSION OF RADIOSIGNALS

Radio and Electronics (DED Philippinen, 66 p.)

5. MODULATION OF RADIOWAVES

Let us first sum up, what we know till here:

1. Our ears are able to receive frequencies within the so called audio-frequency spectrum which starts at about 30 Hz and ends below 20 000 Hz.

2. Only frequencies of a minimum of about 30 000 Hz can be transmitted in form of electromagnetic waves.

3. Therefore it is easy to understand that we will hear nothing if a radio receiver is picking up a very strong transmission of a certain radiostation unless....

4. ... there is an audio signal transmitted as well.

HOW TO TRANSMIT THEN THE WANTED AUDIOSIGNAL BY MEANS OF RADIOWAVES?

The technical solution for this problem is: to let the radio frequency signal “carry” the audiosignal.

The process of charging the “lorry” (putting the audiosignal on the carrierwave) is called MODULATION.


fig. 26

Modulation means actually “varying”. So modulation of the carrierwave means to change the carrier-wave in one of its aspects, proportionally to the amplitude of the audiosignal.

The carrierwave has two main characteristics which determine its shape: the FREQUENCY and the AMPLITUDE.

To ENCODE a message (here to encode the audiosignal on the carrierwave) it is enough to change one of these two factors. Considering this fact, it is easy to understand why there are two methods of modulation.

5.1. THE AMPLITUDE MODULATION (AM)

As the term tells us already, here the amplitude is varied. How this is done shows fig. 27:


fig. 27

As long as the audiosignal has an amplitude of “0”, the carrierwave has its original amplitude.

As soon as the audiosignal starts to have a positive amount, the amplitude of the carrierwave will rise proportionally to the amount of the audiosignal and therefore it will have an amplitude bigger than the original carrier amplitude.

As soon as the audiosignal starts to be negatively directed, the amplitude of the carrierwave will be diminished. But keep in mind: the carrierwave may never reach an amplitude which is “0”.

The INTENSITY OF THE MODULATION can vary from case to case.

It is called the PERCENTAGE OF MODULATION?

5.2. FREQUENCY MODULATION (FM)

Here the term itself shows already how it is achieved: The carrierwave in this case has an always constant amplitude. If there is no audiosignal there will be broadcasted exactly the basical carrierfrequency CF (for example 10 MHz.).

As soon as there is an AF-signal coming in, this carrierfrequency will be varied.

If there is coming in a positive halfwave of the audiofrequency the carrierfrequency will be increased. This rise can reach a maximum of 75 kHz in case of the highest permitted amplitude of the AF-signal. This means the outgoing signal will be 10.075 MHz in case of a maximum positive amplitude.


fig. 28

If there is a negative halfwave coming in, the carrierfrequency will be diminished.. As soon as the audiosignal has reached again “0” the outgoing signal has exactly the original frequencao of 10 MHz.

5.3. SIDEBANDS

Both types of modulations have the effect, that there is special spectrum of frequency leaving the aerial. Beside the actual carrier-wave there are higher and lower frequencies. They are called the SIDEBANDS. The frequencies higher than the carrier-frequency are called UPPER SIDEBANDS the frequencies lower than the carrierfrequency


fig. 29

5.4. TRANSMISSION OF RADIOSIGNALS

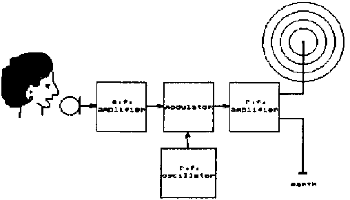
As we don't have to learn about the circuits for a radio transmitter within this course, we will only describe roughly how it works. For such a rough introductory description it is helpful to use a special kind of diagram. This diagram is called a BLOCKDIAGRAM, and it shows only rectangular blocks, which visualize circuits generally, by announcing their function only.


fig. 31

Fig. 31 shows the blockdiagram of a radio transmitter and fig 32 shows the signal how it will look like when it leaves the aerial.


fig. 32

This course will deal from now on, mainly with the following question:

HOW TO RECEIVE THIS SIGNAL IN A RADIO-RECEIVER?

HOW TO PROCESS THIS SIGNAL UNTIL IT CAN BE HEARD AT THE SPEAKER?

CHECK YOURSELF:

1. Explain how electromagnetic waves are produced!

2. Mention the parameters of electromagnetic waves!

3. Which different waves do you know and which are their special characteristics?

4. Which different bands of radiowaves do you know?

5. Which of these bands is useful for long distance communication?

6. Which of these bands is useful for short distance communication?

7. Give the frequency ranges of the different wavebands?

8. What does the term Fading meand, and what is its effect on reception?

9. Which band is used for communication from spaceships to earth and back?

10. What is the reason why long distance radio communication is not totally reliable?

11. What does the term modulation mean?

12. Which types of modulation do you know?

13. Calculate the “% modulation” for the shown case in fig. 30!

TO PREVIOUS SECTION OF BOOK TO NEXT SECTION OF BOOK

CD3WD Project Donate