Back to Home Page of CD3WD Project or Back to list of CD3WD Publications

CLOSE THIS BOOKTreatment of Lines for Mobile Devices and Appliances - Course: Basic skills and knowledge of electrical engineering. Trainees' handbook of lessons (Institut für Berufliche Entwicklung, 21 p.)
2. Treatment of Lines for Mobile Devices and Appliances
VIEW THE DOCUMENT2.1. Removing of Insulations
VIEW THE DOCUMENT2.2. Preparation of the Conductors for Further Processing

Treatment of Lines for Mobile Devices and Appliances - Course: Basic skills and knowledge of electrical engineering. Trainees' handbook of lessons (Institut für Berufliche Entwicklung, 21 p.)

2. Treatment of Lines for Mobile Devices and Appliances

2.1. Removing of Insulations

For removing the insulation, the following tools may be used as auxiliary means:

- Cable strippers
- Automatic deinsulating tongs
- Thermal deinsulating device
- Deinsulating fixtures

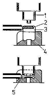
Removing the sheath insulation

- Cutting the rubber sheath in between the cores until it can be taken hold of by hand.
- Ripping the rubber sheath apart up to the given measure.
- Cutting the sheath insulation carefully all around.


Figure 6 Stripping of a light rubber hose cable

1 notching the rubber coating between the cores,
2 thearing the rubber sheath apart,
3 cutting off the sheath insulation carefully

Make sure that the core insulation is not cut when removing the sheath insulation!

Removing the core insulation

- By the cable stripper

. Cutting off one half of the insulation by a longitudinal cut by the knife (stripping off).
. Cutting off the second half by a longitudinal cut, too.


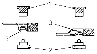
Figure 7 Stripping the core insulation by the electrician's knife

Pay attention to the correct handling of the knife, because the fine-wire conductor might be damaged by a wrong touch of the knife and break in the course of further working.

- By the deinsulating tongs

. With movable deinsulating edges, these are adapted to the cross-section of the conductor.
. The conductor is put into the pair of jaws of the deinsulating tongs and the tongs are actuated.


Figure 8 Stripping the core insulation off with the help of the wire strippers

1 clamping jaw,
2 stripping jaw


Figure 9 Wire strippers

1 cutting edge for various diameters,
2 clamping jaw,
3 conductor

Do only use the cutting edge assigned to the cross-section of the conductor and marked accordingly. Conductor cross-sections exceeding 6 mm2 are deinsulated by the cable stripper.

By the thermal deinsulating device

- Switching the device on.
- Cleaning the resistance wire curl.
- Selection of temperature. (Core insulation must only melt, not burn.)
- Removing the core insulation by the deinsulating handle of the device.
- Switching the device off and pulling the plug after use.

The core insulation of heat-proof silicone and rubber-covered cables is not removed by thermal deinsulating devices due to their heat resistance and the strong smell that would develop.

Make sure that the ends of the conductors are always cleanly deinsulated. The conductor must neither show rests of the insulation nor indentations.

Removal of yarn wrappings from cables

- Cutting the yarn wrapping open.
- Prevent the yarn wrapping from undoing by ligaturing.
- Cutting the yarn wrapping open and removing it.
- Proceed as described above.

2.2. Preparation of the Conductors for Further Processing

Why must mobile cables get a special treatment before being connected?

__________________________________________________

What operations have to be done before the cable is connected?

__________________________________________________

For

- cleaning the conductor
- tinning the conductor
- soldering on of cable eyes
- pressing on of cable eyes

the handbook of "Making Permanent Joints" should be used.

After cleaning - also of the internal layers - the end of the conductor must be accurately retwisted clockwisely.

Tinning of cables and the use of sweating thimbles has to be avoided to the farest possible extent.

These methods should be applied only in special cases, for instance if and when eyes must be bent or pressing cable thimbles cannot be used.


Figure 10 Tinning of a conductor


Figure 11 Soldering of a cable eye

1 fire-resistant wrapping,
2 tin-base solder,
3 nozzle of the sounder,
4 cable eye


Figure 12 Cable eye soldered on

1 plastic hose or tape


Figure 13 Pressing inserts for V-shaped grooving or hexagonal pressing


Figure 14 Putting a shaped conductor into the cable eye

1 binding for aerial line


Figure 15 Cable eye before and after the pressing operation


Figure 16 Making the V-shaped grooving at the top and bottom side of the cable eye

1 top pressing insert,
2 bottom side pressing insert,
3 V-shaped grooving (left: D-shape, right: C-shape of the cable eye)

Bending of eyes

- Twisting of the cleaned appropriately prepared core.
- Bending the eye with the help of an arbor or round-nose pliers. or
- Dividing the conductor and twisting it separately.
- Putting it around an arbor from both sides and joining the two ends by twisting them together.

When bending eyes, make sure that the internal diameter of the eye is 0.1 to 0.2 mm greater than the diameter of the locking screw or bolt.


Figure 17 Bending of eyes

1 twisting of the cleaned conductor,
2 eye bent over an arbor,
3 completed eyes after the conductor having been divided up and twisted separately

After this, the end of the conductor and the eye are tinned by soldering iron tin bath.

- If the twisted conductors are tinned first, they have to be shaped to an eye by round-nose pliers afterwards.

When tinned in a tin bath, the prepared and flux-coated end of the conductor is dipped into the fluid tin to approximately 3/4 of its lengths.

The process of tin-coating is completed, if and when the end of the conductor and the eye have a uniform, tin-covered surface.

Putting on of conductor end sleeves and contact eyes

- If not other forms are required, this technique should be preferred.
- It can be used with cross-sections up to 16 mm2.

What are the advantages of this technique compared with tin-coating?

__________________________________________________

Sequence of operations for working conductor end sleeves

- The wires are stripped.

- The wide end of the sleeve is shoved on the blank end of the conductor.

- The end of the conductor together with the conductor end sleeve is put into the clamping fixture.

- Clamping by fastening the clamping screw by the required contact pressure.

Special fields of use of conductor end sleeves

- At terminal points with two cables, one conductor end sleeve of the appropriate size can be drawn over the two wires.

- Circuit bridges which must not be broken when being disconnected can be twisted and provided with a conductor end sleeve.

- Conductor of less than 0.75 mm2 in cross-section are stripped over such length that they can be folded up two or three times and then put into a conductor end sleeve of a corresponding size.

- Size conductor end sleeves and contact eyes are not marked, attention must be payed that the conductor cross-sections and the end sleeves are fitting together.

Assignment of conductor end sleeves to the conductor cross-sections

(Cross-sections indicated in mm2, main dimensions and length in mm)

Conductor
cross-section

Conductor
end sleeve

Main dimension

Length



Internal diameter

External diameter


0.5

1.3

1.3

1.8

12

0.75

1.3

1.3

1.8

12

1.0

1.5

1.5

2.2

12

1.5

1.8

1.8

2.6

12

2.5

2.2

2.2

3.4

12

4.0

2.9

2.9

4.1

12

6.0

3.5

3.5

4.8

16

10.0

4.4

4.4

5.7

16

16.0

.5.5

5.5

6.8

16

Sequence of operations with the use of contact eyes

- Stripping the wire.
- Prebending the stripped conductor over an arbor.
- Pressing the contact eye on the prepared conductor.


Figure 18 Prebending of the conductor over an arbor

1 arbor, 2 contact eye

- Putting the conductor with the contact eye in the mould of the pressing device or in the pressing pliers.

The conductor must be placed into the slot of the contact eye and in the slot of the matrix of the pressing device.

- Pressing on by pressing device or pressing pliers.


Figure 19 Principle of the pressing-on of contact eyes

1 punch, 2 conductor, 3 contact eye, 4 matrix, 5 contact eye with conductor after having been pressed in the matrix


Figure 20 Pressing-on of contact eyes by the pressing tongs

1 completed contact eye

All individual wires of the flexible conductor must be held by the sleeve or by the eye.

Why should to cables, which shall be connected to mobile equipment, preferably conductor end sleeves and contact eyes be attached or cable eyes be pressed on?

__________________________________________________

TO PREVIOUS SECTION OF BOOK TO NEXT SECTION OF BOOK

CD3WD Project Donate