Back to Home Page of CD3WD Project or Back to list of CD3WD Publications

CLOSE THIS BOOKGeneration, Distribution, Use of Electric Current - Basic vocational knowledge (Institut für Berufliche Entwicklung, 141 p.)
3. Ways of generation of electric energy
VIEW THE DOCUMENT(introduction...)
VIEW THE DOCUMENT3.1. Water power stations
VIEW THE DOCUMENT3.2. Climatological power stations
VIEW THE DOCUMENT3.3. Thermal power stations

Generation, Distribution, Use of Electric Current - Basic vocational knowledge (Institut für Berufliche Entwicklung, 141 p.)

3. Ways of generation of electric energy

A high percentage of electric energy is generated by coal power stations. In the years to come, the capacity of power stations will be increased to 2000 MW and more by installing power-station units of higher capacity (200 MW and more). One unit consists of the steam generator and turbine including the necessary parts and facilities of the installation. One power station normally comprises several power-station units. Advantages of higher generator capacity with stable power consumption are:

- less consumption of material for the power-station unit,
- higher efficiency factors,
- lower specific costs for generator and turbine,
- lower investment costs for the power plant,
- less personnel for operation and maintenance.

Disadvantages of bigger generators are:

- longer starting and run-down times,
- longer times required for stopping in slack periods,
- not suitable for peak-load power stations.

Types of power stations

- Water (hydroelectric) power stations (storage power stations, pumped storage power stations, run-of-river power stations)

- Climatological power stations (tidal power stations, solar power stations, wind driven power stations, geothermal power stations)

- Thermal power stations (gas turbine power stations, steam power stations, nuclear power stations, diesel power stations, magnetohydrodynamic (MHD) generators)

Share of power station types in the generation of electric energy


Table 1 Distribution of the daily load on the types of power stations on the network

industrial power stations, pumped storage power stations, diesel and gas turbine power stations
industrial power stations
thermal power stations, storage power stations thermal power stations, nuclear power stations, run-of-river power stations

3.1. Water power stations

Storage power station

The potential energy of water is stored in artificial lakes (reservoirs)


Figure 1. Schematic representation of a storage power station 1 river, 2 artificial lake, 3 hydrodam wall, 4 bleeding line, 5 power plant (power house)

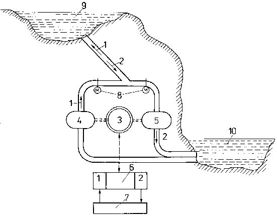
Pumped storage power station (pump-fed power station)

Water flowing from an upper reservoir into a lower reservoir is utilized for power generation to meet the demand during peak-load periods. In slack (low-load) periods the generator works as pumping motor pumping the water into the upper reservoir.


Figure 2. Schematic representation of a pumped storage power station - 1 pumping mode (electric energy is taken from the public power system - generator works as pumping motor), 2 generator mode (electric energy is delivered to the public power system), 3 generator, 4 pump, 5 turbine, 6 electric energy, 7 public power system, 8 gate, 9 upper reservoir, 10 lower reservoir

Run-of-river power station

Water flowing in a river bed is directly utilized to drive water turbines.


Figure 3. Schematic representation of a run-of-river power station - 1 screen, 2 generator, 3 runner

3.2. Climatological power stations

Climatological power stations include tidal power stations, solar power stations, wind (driven) power stations and geothermal power stations.

3.3. Thermal power stations

Gas turbine power station


Figure 4. Functional diagram of a gas turbine power station - 1 compressed air, 2 combustible gas, 3 combustion chamber, 4 mechanical energy in the form of combustion gases (flow), 5 gas turbine, 6 mechanical energy in the form of rotation, 7 generator, 8 electric energy

Steam power station


Figure 5. Functional diagram of a steam power station - 1 air, 2 fuel, 3 steam generator, 4 mechanical energy in the form of steam (flow), 5 steam turbine, 6 mechanical energy in the form of rotation, 7 generator, 8 electric energy

Nuclear power station


Figure 6. Functional diagram of a nuclear power station - 1 fissionable material, 2 nuclear reactor, 3 thermal energy in the form of coolant, 4 heat exchanger, 5 mechanical energy in the form of steam (flow), 6 steam turbine, 7 mechanical energy in the form of rotation, 8 generator, 9 electric energy

Questions for recapitulation and testing

1. What are the main types of power stations?
2. What is the principle of working of a pumped storage power station?

TO PREVIOUS SECTION OF BOOK TO NEXT SECTION OF BOOK

CD3WD Project Donate