Back to Home Page of CD3WD Project or Back to list of CD3WD Publications

CLOSE THIS BOOKGeneration, Distribution, Use of Electric Current - Basic vocational knowledge (Institut für Berufliche Entwicklung, 141 p.)
8. Protective, control and supervisory systems as important additional equipment for power installations
VIEW THE DOCUMENT8.1. General
VIEW THE DOCUMENT8.2. Primary protective elements against overvoltage
VIEW THE DOCUMENT8.3. Primary protective elements against overcurrent
VIEW THE DOCUMENT8.4. Secondary protective elements

Generation, Distribution, Use of Electric Current - Basic vocational knowledge (Institut für Berufliche Entwicklung, 141 p.)

8. Protective, control and supervisory systems as important additional equipment for power installations

8.1. General

Functions

Their protective, control and supervisory functions for electro-technical installations can be summarized as follows:

- to guarantee stable supply of electric energy to the consumers,

- to ensure safe operation of the installation equipment throughout, from the supplier to the consumer of electric energy.

- to minimize damage caused by operational failures,

- to permit quick fault location and trouble shooting,

- to protect people against electric shocks.

Disturbances

They are external effects on the normal operation of an electro-technical installation changing the specified technical/technological cycle of a process. They occur at an unforeseen time and with very different intensity. Their possible consequences can be taken into account and coped with in advance.


Figure 79. Possible disturbances in an electrical installation

1 earth-leakage fault of a winding,
2 winding-to-winding short circuit,
3 interturn short circuit,
4 operating error.
5 line-to-line fault,
6 three-phase short circuit,
7 atmospheric discharge,
8 earth-leakage fault,
9 line-to-line fault with earth connection,
10 three-phase short circuit with earth connection,
11 conductor break,
12 double earth fault,
13 earth-leakage fault of rotor,
14 double earth fault of rotor

Overloading and short circuit

- Causes

· Load exceeding the rated values (Pn. In).
· Insulation damage in line or cable installations and electric machines.

- Effects

· Thermal stress
The insulation gets unduly heated, it chars or burns.

· Dynamic stress
Switching devices, converters, current bars and the respective insulators are mechanically destroyed.

Increased voltage (overvoltaqe)

- Causes

· Switching operations.
· Atmospheric discharge.
· Increased voltage by capacitive mains effects.

- Effects

· Insulation breakdowns.
· Voltage spark-overs.
(In both cases arcs are formed with consequent burning)

Operating and maintenance errors

- Causes

· Human errors.
· Misunderstanding (wrong information).
· Lack of technical knowledge.

- Effects

· Impairment of human health.
· Destruction of parts of installations or of whole installations.
· Loss of production by faulty switching.

Protection

This includes all electrotechnical measures which, in the event of faults, result in direct switching-off of parts of installations or of whole installations through acquisition and processing of disturbances as well as measures of bypassing and/or attenuation of disturbances. Protection also includes indication of disturbances to the operator.


Table 26 Schematic of the protective system of an electrotechnical installation (ETI)

- Primary protection

The protective elements are directly included in the circuit to be protected. The fault current or fault voltage act directly on them.

Table 27 Primary protective elements

Elements

Application

Stranded earth conductors Protective spark gaps

Overvoltage protection

Voltage-limiting devices


Valve-type arresters


Relays


Coils (reactors)

Overcurrent protection

Fuses


Current-limiting circuit breakers


Relays


- Secondary protection

The protective device is connected with the circuit to be protected through current or voltage transformers. The switching actuator is not directly excited by the fault current or fault voltage but by their secondary quantities.


Table 28 Secondary protective elements

Supervision

Supervisory devices detect operating conditions and signal them to the operator using signal elements. Signals indicating disturbances can be acknowledged, i.e. switched off, after processing.


Table 29 Schematic of the supervisory system of an electro-technical installation (ETI)

Conditions supervised are, for example:

- load conditions in the network,
- temperature in boiler plants,
- filling levels in tanks,
- voltage in emergency power plants,
- line conditions (e.g. line interruptions).

8.2. Primary protective elements against overvoltage

Stranded earth conductors and lightning arresters

Their purpose is to render more difficult the development of overvoltage of uncontrollable amount and duration in the event of atmospheric discharge at overhead lines and in other electrical installations. One or more stranded conductors are run above the active conductors of overhead lines and conductively connected with the earthed poles. Lightning protection for other electrical installations is provided by hot galvanized round bar steel installed at the highest point of the installations and conductively connected with the earth potential. These measures provide a certain shielding for the overhead lines and other electrical installations against atmospheric overvoltages. (The success percentage is about 33 % for overhead lines.) Stranded earth conductors and lightning arresters are used in all high-voltage overhead-line installations (seldom in medium-voltage installations, generally from 110 kV).

Protective spark gaps

Their purpose is to carry off dangerous overvoltages to near-earth places using electric field effects of overhead lines. They consist of electrically conductive arcing horn rings with short electrodes.

When an overvoltage caused by atmospheric discharge is applied to the insulator, the spark gap of the arrester strikes because of the electric field effect and carries off the overvoltage to the earth. The arcing horn rings are designed so as to carry the arc away from the insulator and let it burn out at a distance which is not dangerous. The protective spark gaps are used in all high-voltage overhead-line installations which are provided with automatic reclosing.


Figure 80. Arc horn and arc course - 1 arc foot, 2 arc stem, 3 arc centre, 4 arc horn, 5 open ring

Valve-type arresters

Multiple protective spark gaps with bleeder resistors, voltage and earthing connections in porcelain casing with an additional external protective spark gap. Resistor plates are placed on upon the other with very small distances.

Between two adjacent plates there is a glow discharge at about 350 V and a spark-over at 500 V. When an overvoltage is applied, the auxiliary spark gap is bridged by an electric arc. The downstream voltage-depending resistors limit the quantity of charge, a mains voltage collapse is thus prevented.


Figure 81. Construction of a valve-type arrester - 1 glass casing, 2 spring, 3 spark gap with distance and centring facilities, 4 resistance plate, 5 flanged cap, 6 voltage connection, 7 earth connection, 8 mains isolator, 9 connection clamp, 10 0-ring seal


Figure 82. Equivalent circuit of a valve-type arrester - 1 spark-gap, 2 load resistance, 3 spark-gap capacitance, 4 earth capacitance

Use

- as D.C. voltage arrester,
- as A.C. voltage arrester for networks of all voltage levels,
- for all switching and distributing plants at the overhead-line inlet,
- for junctions, overhead line - cable,
- for all cables of more than 12 m length.

Expulsion-type arresters

Spark-gap with insulating conduit, voltage and earthing connections. The striking (arcing) depends on the level of voltage and on the distance between the electrodes. The arcing in the event of overvoltage vaporizes organic insulating material of the insulating conduit. The gas pressure produced escapes through the so-called exhaust electrode, the arc is quenched. The voltage collapse that follows is eliminated by automatic reclosing.


Figure 83. Construction of an expulsion-type arrester - 1 voltage connection, 2 insulating conduit, 3 quenching gap, 4 exhaust electrode

Use as A.C. voltage arrester in medium-voltage installations.

8.3. Primary protective elements against overcurrent

Current-limiting coil

It attenuates excessive short circuits by its inductive reactance and thus helps to protect the electrotechnical installation against the effects of high currents. It consists of a coil with a large conductor cross section. The coil has no iron core and is mounted in procelain, concrete or hard wood. If a very high short circuit is flowing in the current path, a widely straying magnetic field is created in the turns. Current-limiting ceils are mainly installed in the busbar branches of medium-voltage plants.

Fuses

Fuses are switching devices for automatic opening (breaking) of circuits by interrupting a current path by fusing of the conductor.

- Principle of operation

The fusing conductor in the fuse link is the weakest point in the circuit. In the event of overload or short circuit the fusing conductor is interrupted by the Joule hoat.

- Breaking factor

The various electrotechnical installations require different breaking factors for overcurrents or short circuits. This is achieved by time lag of fusing of the fusing conductor.

Table 30 Coordination of breaking factors and types of current protection

Type of current protection

Breaking factor k


in consumers’ installations

in cable and overhead-line networks up to (inclusive) service box and fuse in the rising mains

Fuses up to 30 A/time-lag and up to 63 A/instantaneous

3.5

2.5

from 63 A/time-lag

5

Protective switches or relays with undelayed (less than 0.5) release,e.g. short-circuit instantaneous trips

1.25
(breaking curre = k x setting current short circuit trip)

Protective switches or relays with delayed I:) (from 0.5 s) release,e.g. thermal trips, time-lag magnetic trips

k as given above trips since protective switches or relays with delayed release must be used only in connection with fuses or undelayed trips

Automatic cut-outs up to 25 A. 380 V, except domestic cut-outs

3.5

2.5

Domestic automatic cut-outs up to 25 A, 380 V

2.5



It is to be made sure that fuses and automatic cut-outs cannot be mixed up.

- Time lag

Low-voltage fuse links

· time-lag fuse links
· instantaneous fuse links
· time-lag instantaneous fuse links
· high-speed fuse links


Figure 84. Switch-off delay characteristic of fuses - 1 minutes’ range, 2 seconds’ range, 3 time-lag fuses, 4 instantaneous fuses, 5 time-lag instantaneous fuses, 6 high-speed fuses

- Use

· Time-lag fuse links are used where, for technological reasons, high currents flow for a short time but do not have detrimental effects for the lines (motor-starting currents).

· Instantaneous and high-speed fuse links are used to protect lines and equipment where little overcur- rent has detrimental effects.

Note:

When automatic cut-outs, bimetallic and instantaneous trips are used, another breaking factor k is to be taken into account,

- Types

· D fuses (Diazed fuses - diametral two-step Edison screw)


Figure 85. Construction of a screwed-type fuse - 1 fuse carrier, 2 fuse link (cylindrical), 3 gauge piece, 4 assembly in the fuse socket 1

Use:

Wiring installations, control systems, protection of lines, cables, machines and equipment. Rated current:

2 to 200 A depending on the screw type (E 16 to E 33 and R 1.1/4” to R 2”).

· NH fuses (low-voltage HBC fuses)


Figure 86. NH fuse (low-voltage HBC fuse) - 1 fuse base. 2 fuse link, 3 fuse link replacement handle

Use:

Wiring installations, control systems, protection of lines and cables in bigger distributing plants.

Rated current:

6 to 630 A, depending on the size (00 to 3).

· HH fuses (high-voltage HBC fuses).

Overcurrent protection in medium-voltage installations (local networks, industrial plants), particularly as short-circuit system in connection with on-load disconnecting switches.

Current -limiting measures

- Creation of sub-networks (sub-systems)

The system impedances (Z.) are increased. This contributes to the attenuation of the short-circuit current and provides the possibility of partial disconnection.

- Increase of the resistance (Z) in the transformer section in the event of short circuit by direct transformer/reactance interconnection.

Current-limiting circuit breakers (e.g. automatic cut-outs)

Thermal and electromagnetic primary trips in the current path interrupt the excessive current by tripping of circuit breakers. Automatic cut-outs have a thermal overcurrent trip and an electromagnetic instantaneous trip. The two types of separate tripping mechanisms guarantee excellent protection against over-current (heat) and short circuit for the downstream electrotech-nical installation.

Rated current: 6 to 25 A.


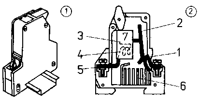
Figure 87. Automatic cut-out (screw-in type) - (1) off-position, (2) on-position - 1 switch-on button, 2 thermal trip. 3 toggle, 4 electromagnetic trip, 5 switch-off button, 6 switching contacts


Figure 88. Automatic cut-out (built-in type) - (1) mounted on supporting rail,
(2) schematic construction - 1 pole terminal, 2 switching contact, 3 bimetal, 4 tripping impulse, 5 outgoing terminal, 6 deion chamber, 7 switching mechanism

8.4. Secondary protective elements

Current transformers

They work to the principle of a secondary short-circuited transformer.

Standard primary values
between 5 A and 30 kA.
Standard secondary values
between 1 and 5 A.

Class accuracy 0.1, 0.2, 0.5, 1, 3, 5 P, 10 P.
Rated impedance between 0.04 and 2.4.

Voltage transformers

They work to the principle of a secondary open-circuited transformer.

Standard primary values
between 100 V and

Standard secondary values

Class accuracy 0.1, 0.2, 0.5, 1, 3. 3 P. 6 P.

Relays

Relays are devices which are influenced by a change of the action quantity in the driving system and actuate electrical switching elements.


Figure 89. Relay with its contact types (contact element types) - 1 break contact, 2 make contact, 3 change-over contact, 4 wiping contact, 5 correcting variable, 6 measurable variables

Examples of relay types:

- Undervoltage and overvoltage relays

These relays are suitable for undelayed tripping of switches in the event of mains voltage drop or failure or for undelayed tripping of switches in the event of overvoltage, respectively.

- Overcurrent relays

These relays are designed for undelayed tripping of switches in the event of overcurrents caused by overload or short circuits. The response is indicated by optical signals.

- Overcurrent time-lag relays

These relays serve for current-controlled supervison of motors (low voltage and high voltage) and transformers to protect them against overload and short circuit.

- Magnetic overcurrent relays

Magnetic overcurrent time-lag relays to protect consumers of low-voltage installations against overload. They are mainly used in ship installations. They are self-contained units and work in connection with low-voltage circuit breakers.

- Time-lag relays

Short-time time-lag relays can be used for any delayed switching operations in control engineering where a short, adjustable time delay is required. In connection with overcurrent or undervoltage relays, they can be used for delayed tripping of switches.

Precision time-lag relays feature a high accuracy of time. In connection with single-, two- or three-contact overcurrent and undervoltage relays, they can be used to build up time-lag protective devices.

FI protective switches

Fault-current circuit breakers or the fault-current protective device, respectively, supervise inductively with a current transformer the sum of ingoing and outgoing currents of the installation to be protected.

Signal elements (examples)

- Signal relays

Signal relays serve to indicate disturbances (voltage failure) and operating conditions (on, off, full, empty).

- Acknowledging switches

Acknowledging switches serve to indicate and supervise the switch position in mimic diagrams and illuminated circuit diagrams of electrotechnical installations and to indicate faults by optical or sound signals or as control switches, e.g. for the control of switches indicating the switch position at the same time.

- Acknowledging control switches

Acknowledging control switches are used in switching plants to control power circuit breakers and disconnectors as well as to indicate and supervise their switch position in mimic diagrams.

Questions for recapitulation and testing

1. What does the collective term “protective, control and supervisory systems” cover in particular?
2. What are current-limiting measures?
3. What are the principles of working of current and voltage transformers?

Answers to the questions for recapitulation and testing

2.1. Brown coal, hard coal. nuclear power, water power, heat of the earth.

2.2. Reasonable illumination expenditure, adaptation of the power of motors to the machines to be driven, use of modern technologies, taking into account, peak-load periods.

3.1. Water power stations, thermal power stations, climatolo-gical power stations.

3.2. Unused electric energy is stored in the form of water in an upper reservoir. When the energy is needed, the stored water is drained off into the lower reservoir through turbines generating electric energy which is immediately available.

4.1. Networks for power supply to smaller areas, such as towns, parts of towns, industrial plants, etc. The transmission voltages range from to 30 kV.

4.2. One or two feeding points.

4.3. Clear identification of the network conditions for the purposeful selection of adequate protective measures against electric shocks.

4.4. It is decisive for the thickness of the insulation, for the distance between non-insulated conductors and for the qual-itiy of the insulating material.

4.5 It is important for the type of material (Al. AlCu, Cu), the size of the cross section, type and extent of cooling.

4.6. It is an electrotechnical installation including accessories, the main purpose of which is to distribute electric energy to several outgoing lines.

4.7. Use of expansion joints and slide supports.

4.8. Conductor, insulating cover, sheathing.

4.8. Conductor, insulating cover, belt, sheathing, inner protective covering, armouring, outer protective covering.

4.10. Versatility, interchangeability, high packaging density for various fields of application.

4.11. Indoor switching plants, sheet steel-enclosed low-voltage distributing plants, standard box systems, outdoor switching and distributing cabinets, switchgear cubicles (cells), substations, transformer stations.

4.12. They open (break) and close (make) current paths.

4.13. Porcelain, thermoset plastic material, hard paper, cast resin.

4.14. To avoid damage to the conductor and insulator caused by improper transportation, storage, laying or fixing.

4.15. Cable protecting caps must be completely filled with sand so as to avoid cavities between the cable and the cap.

4.16. To reliably conduct current from one conduction to another one and to avoid or minimize transition resistances.

5.1. According to the type of building, such as residential buildings, industrial buildings, social buildings, agricultural buildings, medical buildings, special installations.

5.2. Standardized, prefabricated installation parts which are normally suitable for repeated use. Basically there are current bar systems and cable and line systems.

5.3. Pressing technique. The working tools are expensive but the connections produced are equal to welded joints.

6.1. Wide variety of consumers, e.g. with respect to size, type of operation, operation at the same time, degree of utilization, type of current, voltage level, frequency.

7.1. Visual inspection of all component parts, A.C. voltage testing and/or lightning-stroke voltage testing of the insulating property, insulation testing.

7.2. Hand generator or electronic insulation measuring device.

7.3. For new installations: 10

For old installations: 1

For installations of 100 V or less: 100 Wm

8.1. Installations guaranteeing stable supply of electric energy and safe operation from the supplier to the consumer of electric energy, quick fault location and trouble shooting and protecting people against electric shocks as well as minimizing damage caused by operational failures.

8.2. Creation of sub-systems and increase of the resistance of the system impedances.

8.3. Current transformers: principle of a secondary short-circuited transformer. Voltage transformers: principle of a secondary open-circuited transformer.

TO PREVIOUS SECTION OF BOOK

CD3WD Project Donate