Back to Home Page of CD3WD Project or Back to list of CD3WD Publications

CLOSE THIS BOOKCircuits, Formulas and Tables Electrical Engineering - Basic vocational knowledge (Institut für Berufliche Entwicklung, 201 p.)
3. Basic Circuits of Illumination Engineering
VIEW THE DOCUMENT3.1. Circuit-breaking Arrangements
VIEW THE DOCUMENT3.2. Series Circuits
VIEW THE DOCUMENT3.3. Two-way Switching Circuits
VIEW THE DOCUMENT3.4. Staircase Lighting Circuits
VIEW THE DOCUMENT3.5. Fluorescent Lamp Circuits

Circuits, Formulas and Tables Electrical Engineering - Basic vocational knowledge (Institut für Berufliche Entwicklung, 201 p.)

3. Basic Circuits of Illumination Engineering

3.1. Circuit-breaking Arrangements


cut-out, schematic diagram (all-pole)


cut-out, schematic diagram (single-pole)


plug socket with protective contact (all-pole)


plug socket with protective contact (single-pole)


plug socket with protective contact and separate protective conductor (all-pole)


plug socket with protective contact and separate protective conductor (single-pole)


Cut-cuts with plug socket (all-pole)


Cut-cuts with plug socket (single-pole)


two-pole cut-out (all-pole)


two-pole cut-out (single-pole)


three-pole cut-out (all-pole)


three-pole cut-out (single-pole)

3.2. Series Circuits


multi-circuit switch -also know as series switch-, schematic diagram (all-pole)


multi-circuit switch -also know as series switch-, schematic diagram (single-pole)


series switch with plug socket (all-pole)


series switch with plug socket (single-pole)

3.3. Two-way Switching Circuits


two-way switch, schematic diagram (all-pole)


two-way switch, schematic diagram (single-pole)


two-way switch with plug socket (all-pole)


two-way switch with plug socket (single-pole)


two-way switch, economy circuit, schematic diagram (all-pole)


two-way switch, economy circuit, schematic diagram (single-pole)


two-way switch with four-way switch, schematic diagram (all-pole)


two-way switch with four-way switch, schematic diagram (single-pole)


two-way switch with four-way switch (all-pole)


two-way switch with four-way switch (single-pole)

3.4. Staircase Lighting Circuits


staircase lighting circuit with four-way switch (all-pole)


staircase lighting circuit with four-way switch (single-pole)


staircase lighting circuit with four-way switch (switch positions)


staircase circuit with automatic unit (all-pole)


staircase circuit with automatic unit (single-pole)

t = automatic staircase lighting switch unit

3.5. Fluorescent Lamp Circuits


fluorescent lamp at single-phase mains (single-pole)


fluorescent lamp at single-phase mains (all-pole)


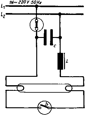
fluorescent lamp in lead-lag connection (single-pole)


fluorescent lamp in lead-lag connection (all-pole)


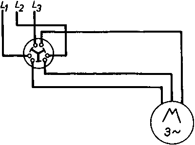
fluorescent lamp at three-phase mains (all-pole)


fluorescent lamp at three-phase mains (single-pole)

TO PREVIOUS SECTION OF BOOK TO NEXT SECTION OF BOOK

CD3WD Project Donate